ID this connector?
(EDIT: The correct answer is already below)
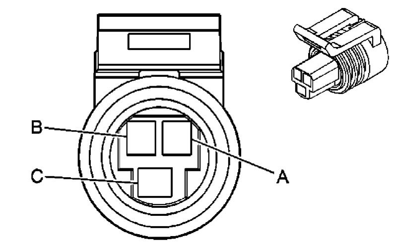
It seems to have originally been around the rear passenger side of the manifold, but no clue where. Click the picture for a seriously blown-up view:

It has three wires:
Red/Blk
Purple
Grey
I looked through my Haynes manual and can't find the little bastard anywhere. Have no clue what it is supposed to go to. Anyone recognize it?
As always, thanks for any help!
It seems to have originally been around the rear passenger side of the manifold, but no clue where. Click the picture for a seriously blown-up view:

It has three wires:
Red/Blk
Purple
Grey
I looked through my Haynes manual and can't find the little bastard anywhere. Have no clue what it is supposed to go to. Anyone recognize it?
As always, thanks for any help!
Last edited by shifty`; Oct 15, 2006 at 08:56 AM.
Hmmm, but the A/C compressor is all the way in the passenger side front-bottom corner of the block, and with my harness, this is near the passenger rear-top. I do have the turn-on for the compressor. Where would this sensor normally be found?
Can anyone w/a '01-'02 do a visual verify that the plastic molded connector matches exactly? I'll try to find this on my friend's '00, but will need to wait until tomorrow for him to drag his car into work.
Can anyone w/a '01-'02 do a visual verify that the plastic molded connector matches exactly? I'll try to find this on my friend's '00, but will need to wait until tomorrow for him to drag his car into work.
Not the compressor, the pressure sensor. It is located in the liquid line, near the firewall on the passenger side. Basically between the shock tower and the firewall directly in front of the heater box.
Trending Topics
Originally Posted by Brains
Not the compressor, the pressure sensor. It is located in the liquid line, near the firewall on the passenger side. Basically between the shock tower and the firewall directly in front of the heater box.
That's exactly what it is. The sensor reads both pressure and feeds this info to the PCM. If it is too high or too low the compressor will not be requested to turn on.
Originally Posted by shifty`
I assume the engine will run fine if it is attached to nothing, yes?
yea you dont need it hooked up. Mine just lays there, and I tap into the red/blk one to log my wideband through the AC.








